| ДК-М |
|
|
|
Контроль устройств автоблокировки и переездной сигнализации - аппаратура ДК-М В качестве технических средств нижнего уровня СТДМ АСДК устройств СЦБ сигнальных и переездных установок на перегонах, а также устройств СЦБ входных светофоров и переездов станций используется Аппаратура диспетчерского контроля линейных объектов ДК-М Аппаратура ДК-М обеспечивает сбор и передачу по кабельной линии связи или линии ДСН с 24 линейных сигнальных или переездных установок на приемную станционную аппаратуру (ЛПД) информации о состоянии и параметрах объектов контроля и диагностики, в том числе:
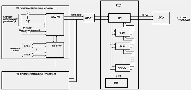
Функциональная схема контроля и диагностики устройств СЦБ на перегонах при использовании в СТДМ АСДК аппаратуры ДК-М приведена на рисунке: Состав комплекса технических средств ДК-М Состав оборудования на перегоне (переезде):
Состав оборудования на станции:
Оборудование на перегоне (переезде) Перегонная часть аппаратуры ДК-М размещается в релейных шкафах сигнальных установок и переездов. Как правило, в релейном шкафу сигнальной установки размещаются по одному генератору ГЛС2 и модулю МАЛ1. На переездах возможна установка нескольких ГЛС2 и МАЛ1. Устройства питания аппаратуры ДК-М, сопряжения с объектами контроля (с учетом безопасности) и грозозащиты – трансформаторы, резисторы, разрядники, предохранители – также устанавливаются в релейном шкафу. Преобразователь аналого-цифровой линейный модульный МАЛ1-1Му
Примечание - МАЛ1-1Му не предназначен для измерения модулированных сигналов тональных и кодовых рельсовых цепей. Посмотреть руководство по эксплуатации МАЛ1-1Му. Генератор линейных сигналов ГЛС2
Плата на два трансформатора ТПГ2-15
Плата выпрямителей ПВ-01 (далее - ПВ-01) производится ООО «СЕКТОР» с 2012 г. ПВ-01 предназначена для преобразования (выпрямления) входных импульсно-манипулированных сигналов переменного тока частотой от 25 Гц до 75 Гц в сигналы постоянного тока. ПВ-01 конструктивно выполнена в виде модуля для установки на дин-рейку. ПВ-01 занимает одно место реле НМШ. Входы ПВ можно подключать к обмоткам импульсных путевых реле в релейных шкафах СУ, переездов и входных светофоров, а выходы - к измерительным входам МАЛ1–1М, МАЛ1-1Му, имеющих диапазон измерения напряжений переменного тока от 0 до 30 В. ПВ имеет защиту от шунтирования обмотки импульсного путевого реле. Оборудование на станции В состав станционной части аппаратуры ДК-М входит блок станционный БС2 с модулем питания и модулями приемных каналов, который размещается на станции в шкафу СТДМ АСДК и по стыку RS-232 соединяется с КСУ. Один комплект аппаратуры ДК-М, подключенный параллельно к отдельной двухпроводной линии связи, обеспечивает контроль до 24 сигнальных установок. Устройство ввода линейное УВЛ-02
Блок станционный БС2 предназначен для размещения в нем и совместной работы одного модуля питания МП и до 12 модулей ПК. БС2 содержит также плату сопряжения и соединители для внешних подключений линии связи и интерфейса RS-232 (т.е.не требует отдельного модуля связи). При необходимости размещения в шкафах АСДК блока сопряжения, конструктивно выполненного в виде 19" блок-каркаса, может поставляться блок БС2-02.На кросс-плате блока БС2-02 установлены только соединители для подключения модулей, составляющих блок БС2-02.
Модуль предназначен для обеспечения напряжением питания модулей ПК и платы сопряжения блока БС2. На лицевую панель МП выведены индикаторы наличия вторичного напряжения. В качестве канала передачи данных с сигнальных установок на пост ЭЦ используется двухпроводная линия связи. Как правило, это линия ДСН, к которой подключаются генераторы ГЛС2. Расстановка ГЛС2 и комплектация БС2 модулями приемных каналов ПК производится на стадии проектирования. Модуль предназначен для приема сигналов от одного или двух генераторов ГЛС2, их обработки и формирования выходного сигнала для платы сопряжения блока станционного. Модуль ПК выпускается в 12 модификациях, отличающихся рабочими частотами. Модуль связи (МС) - для БС2-02 Модуль связи МС (далее МС) обеспечивает прием и передачу в модули ПК линейных сигналов от генераторов ГЛС2 по двухпроводной кабельной или воздушной линии связи и передает информацию от модулей ПК в аппаратуру верхнего уровня АСДК по интерфейсу RS-422 (RS-232). |
















